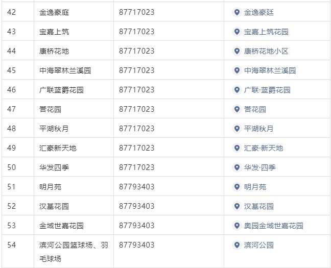
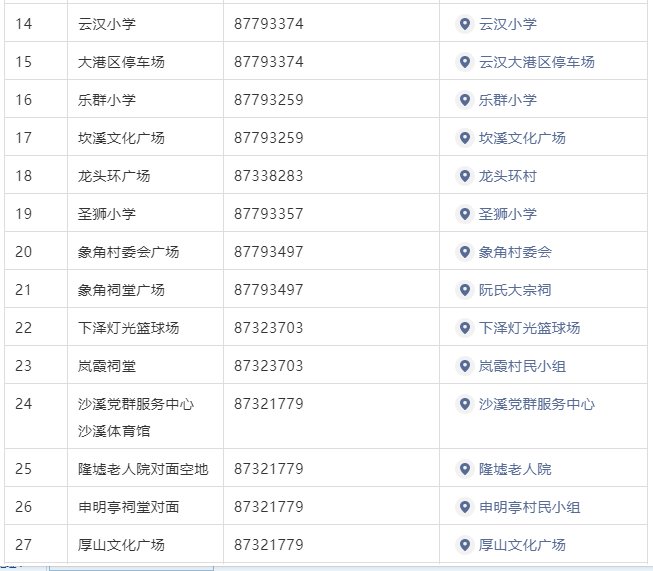
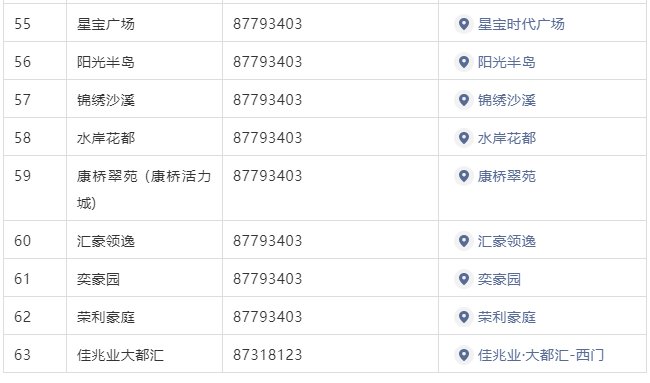
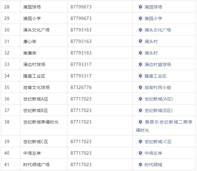
中山沙溪全员核酸检测采样点安排 中山沙溪全员核酸检测采样点安排图

更新时间:1月14日
经研究决定,1月14日,沙溪党群服务中心、星宝时代广场和龙瑞国际服装城三个检测点延迟工作到今晚21时,请仍有检测需要的群众自行前往上述三个检测点进行检测。
1月15日9-12点,沙溪镇党群服务中心继续开展核酸检测。

更新时间:1月13日
一、检测范围:全镇市民(含户籍人口、外来人口)
二、采样时间:2022年1月14日(星期五)早上7:00-晚上7:00

更新时间:1月14日
经研究决定,1月14日,沙溪党群服务中心、星宝时代广场和龙瑞国际服装城三个检测点延迟工作到今晚21时,请仍有检测需要的群众自行前往上述三个检测点进行检测。
1月15日9-12点,沙溪镇党群服务中心继续开展核酸检测。

更新时间:1月13日
一、检测范围:全镇市民(含户籍人口、外来人口)
二、采样时间:2022年1月14日(星期五)早上7:00-晚上7:00